實驗二、直齒圓柱齒輪傳動機構
一、實驗的目的:1、了解齒輪傳動的構成,認識其組成元件;
2、掌握齒輪相關幾何參數的定義及其意義;
3、掌握齒輪傳動比、齒輪傳動系統中軸的轉速及力矩的計算方法;
4、了解齒輪在工程實際中的應用;
5、訓練學生的工程實踐動手能力,培養學生的創新意識及綜合設計的能力。
二、實驗原理及特點
任何平面機構可以用零自由度的桿組依次連接到原動件和機架上去的方法來組成,這是機構的組成原理,也是本實驗的基本原理
1、 圓柱直齒輪傳動機構
結構特點:其他傳動相比,齒輪傳動能實現任意位置的兩軸傳動, 具有工作可靠、使用壽命長、傳動比恒定、效率高(98%~99%)、 結構緊湊、速度和功率的適用范圍廣(最大功率可達數萬kW、 圓周速度200~300 m/s、轉速20 000 r/min)等優點。主要缺點是制造和安裝精度要求較高,加工齒輪需要用專用機床和設備, 成本較高。

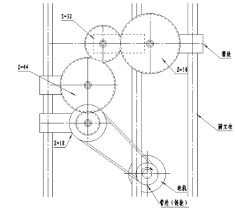
圖1 齒輪傳動機構
三、實驗設備及功能
1)實驗臺機架
實驗臺機架如圖2所示:機架中有5根鉛垂的活塞桿,它們可沿X軸左右移動,固定靠六角頭螺釘和蝶型螺母固定。需移動時請先將蝶型螺母松開,雙手推動活塞桿.并盡可能使它保持垂直狀態。活塞桿上的滑塊可沿Z軸上下移動,用內六角螺釘將滑塊緊定在活塞桿上。(注意:在移動立柱或滑塊時需用直尺或卷尺量出它們的相對位置再把螺釘擰緊。)

圖2 機架
2)其它組件
| 序號 | 名 稱 | 示 意 圖 | 規 格 | 數量 | 備 注 |
|
1 |
主動軸帶輪 |
![]() |
1 | ||
|
2 |
電機軸帶輪 |
![]() |
1 | ||
|
3 |
主 軸 |
![]() |
4 | ||
|
4 |
齒 輪 |
![]() |
Z=20 | 1 | |
|
5 |
齒 輪 |
![]() |
Z=32 | 1 | |
|
6 |
齒 輪 |
![]() |
Z=44 | 1 | |
|
7 |
齒 輪 |
![]() |
Z=50 | 1 | |
|
8 |
端 蓋 |
![]() |
5 | ||
|
9 |
卡 環 |
![]() |
4 |
提供M5平頭螺釘.M3圓頭螺釘內六角扳手一套,1m卷尺一把,開口扳手1個。
四、實驗臺裝配圖及爆炸圖

圖3 裝配圖

圖3 爆炸圖











